Home
iPad
Mac
iPhone
iPhone Air
iPhone 17
iPhone 17 Pro
iPhone 16e
iPhone 16
iPhone 16 Pro
iPhone 15
iPhone Ricondizionati
Migliori cover
Cuffie e Auricolari
AirTag
iOS 18
iOS 17
iOS 16
iPad
iPad Air
iPad 11
iPad Mini
iPad Pro
iPadOS 18
iPadOS 17
Apple Pencil
Mac
MacBook Air
MacBook Pro
iMac
Mac mini
Mac Studio
Mac Pro
macOS Sequoia
macOS Sonoma
Studio Display
Pro Display XDR
AirPods
AirPods
AirPods Pro
AirPods Max
Watch
Apple Watch Ultra 3
Apple Watch Series 11
Apple Watch SE 3
Apple Watch Series 10
Apple Watch Series 9
Migliori cinturini
watchOS 11
watchOS 10
Smart Home
Apple TV 4K
tvOS 18
HomePod
HomePod mini
Accessori Smart Home
Forum
Tech
Offerte
Aggiornamenti
8 Luglio 2017
Spotify aggiunge lo scrubbing nella schermata di sblocco
News
8 Luglio 2017
Star Vikings Forever: crea la tua squadra di vichinghi spaziali
Offerte
8 Luglio 2017
Solo per oggi, TIM Smart casa a 19,90€!
Ultime offerte del giorno
Vedi tutte
-100%
In evidenza
Amazon Music Unlimited gratis 3 mesi
10,99 €
Offerta
-55%
In evidenza
Beats Studio Pro - Cuffie Bluetooth wire
399,95 €
179,00 €
-18%
In evidenza
Amazon Kindle Paperwhite (Ultimo modello
169,99 €
139,00 €
-57%
In evidenza
Beats Solo 4 - Cuffie wireless bluetooth
229,95 €
99,99 €
-41%
5:47
TANSTC Calzini Calze Uomo Donna Calze An
29,99 €
17,82 €
-16%
5:44
DURACELL Batterie Plus AA (Confezione da
21,49 €
18,00 €
-36%
5:41
Samsung Marine Band Cinturino sportivo p
84,90 €
54,36 €
-34%
5:38
Amazon Basics - Cassettiera per l’arma
49,99 €
32,98 €
-43%
5:37
Philips TAT2139BK/00 Cuffie auricolari B
34,99 €
19,90 €
5:34
Lexibook Nintendo Mario Kart Flipper ele
39,99 €
-21%
5:33
VARTA Batterie AA, confezione da 150
59,99 €
47,14 €
-20%
5:30
OtterBox Cover Defender Series MagSafe p
49,99 €
40,20 €
5:26
Dickies Pantaloni da Lavoro Originali 87
37,50 €
-19%
5:26
Corsair CH-9417070-WW Tappetino Mouse, N
69,99 €
56,88 €
-40%
5:23
Panasonic KX-TU446EXG Telefono Cellulare
89,99 €
53,99 €
-27%
5:19
RedThunder K10 Set Tastiera e Mouse da G
69,99 €
51,43 €
-21%
5:16
Vantamo Allarme Personale Antiaggression
29,99 €
23,74 €
-47%
5:14
Levi's 559 Relaxed Strt Navarro, Navarro
90,00 €
47,92 €
-72%
5:13
Smartwatch Donna, 1,91" HD Orologio Smar
129,99 €
35,99 €
-23%
5:13
HoYLluDLL 2.0 Canal Soundbar per televis
63,99 €
49,18 €
-32%
5:13
Kedifoai Aspirabriciole Senza Fili, 2600
39,99 €
27,07 €
-50%
5:11
Under Armour Launch 7In Pantaloncini da
40,00 €
19,99 €
-27%
5:11
adidas Homme Essential Three Stripes Fle
50,00 €
36,50 €
-32%
5:09
Twinzee Centrifuga 850W Estrattore Frutt
69,99 €
47,49 €
-38%
5:08
Eureka NEY100 Detergente Portatile per M
129,00 €
79,99 €
-15%
5:08
4K Macchina Fotografica Digitale Fotocam
53,12 €
45,12 €
-17%
5:08
Lossga Zaino 40x30x20 per Ryanair Zaino
29,99 €
24,84 €
-41%
5:08
aonus A9 Max Aspirapolvere senza Fili 58
219,00 €
128,29 €
-59%
5:08
PUMA Teamgoal 23 Casuals Pants, Pantalon
44,95 €
18,44 €
-46%
5:07
Deumidificatore da 2,7L per la Casa, Deu
99,00 €
53,19 €
-38%
5:07
Aspirapolvere Senza Fili, 55KPA/650W/70M
239,99 €
149,99 €
5:07
Trust Monta Supporto per Monitor Ergonom
17,99 €
-33%
5:03
Belkin Batteria esterna portatile da 100
29,99 €
19,99 €
-19%
5:00
Kensington Mouse Expert Wireless Ergonom
153,92 €
125,28 €
4:56
Seagate Expansion Desktop, 24 TB
478,69 €
-29%
4:53
Trust Gaming GXT 620 Axon Soundbar Illum
34,99 €
24,99 €
4:50
Helly Hansen Femmes W Belfast Veste long
108,24 €
4:47
Lee Legendary Relaxed Straight Jean Jean
31,62 €
4:47
PUMA Tech FZ Felpa con Cappuccio
28,48 €
4:46
DIGITUS Cavo di collegamento HDMI High S
38,90 €
-34%
4:43
SALEWA PUEZ Melange Dry M S/S Tee, S
35,00 €
22,99 €
4:43
PUMA LIGA Baselayer Short Tight, Collant
19,27 €
4:42
Lexar SILVER PRO Scheda SD 2x64GB, Sched
55,87 €
-43%
4:39
STANLEY 1913 Classic Legendary Thermos 1
69,95 €
40,08 €
4:39
HUAWEI WATCH FIT 4 Smartwatch, + Freebud
148,00 €
4:36
TP-Link Archer C88 Gigabit Router WiFi A
42,99 €
4:32
HUAWEI FreeBuds SE 2, Durata della Batte
29,00 €
4:29
Canon PIXMA TS3351 - Stampante multifunz
49,90 €
4:26
HUAWEI WATCH 5, 42mm Smartwatches
369,00 €
4:22
Wrangler ACTION COMFORT REGULAR FIT, Jea
34,86 €
4:19
Lexar NM620 SSD 512GB, M.2 2280 PCIe Gen
57,73 €
Applicazioni App Store
8 Luglio 2017
Tour de France 2017, l’app ufficiale per iPhone
News
8 Luglio 2017
Apple varrà presto mille miliardi di dollari?
News
8 Luglio 2017
Google Calendar si aggiorna con il Widget Oggi
News
8 Luglio 2017
Il supporto ad Apple Pay in Italia sarà ampliato entro fine anno
News
8 Luglio 2017
iPhone 8, l’accessorio per la ricarica wireless sarà venduto a parte – Rumor
News
7 Luglio 2017
Apple registra i marchi “smartglasses” e “headset”
News
7 Luglio 2017
Pokémon Go celebra il primo anno con premi e creature speciali
News
7 Luglio 2017
Spagna, avvistate auto Apple Maps
News
7 Luglio 2017
L’UE vuole favorire le riparazioni in-house
News
7 Luglio 2017
iOS 11, Mail trasforma automaticamente le cartelle in file ZIP
Dati di vendita
7 Luglio 2017
Vendite costanti dell’iPhone, malgrado i tanti rumor
News
7 Luglio 2017
Fibra e ADSL Infostrada a metà prezzo, ecco i dettagli!
News
7 Luglio 2017
Apple risponde alle accuse della Imagination Technologies
News
7 Luglio 2017
Programma “Bug Bounty”, un piccolo flop per Apple e per la ricerca di bug su iOS?
News
7 Luglio 2017
Qualcomm chiede il blocco delle vendite degli iPhone negli USA
News
7 Luglio 2017
Nuove banche USA supportano Apple Pay
News
6 Luglio 2017
Fender realizzerà un’app iOS che ti insegna a suonare la chitarra
News
6 Luglio 2017
Instagram, arrivano le reply con foto e video nelle Storie
Applicazioni App Store
6 Luglio 2017
Il gioco “Sorcery!” per la prima volta gratis su App Store!
News
6 Luglio 2017
iPhone 6 (con Secure Enclave) sbloccato dalla Cellebrite?
News
6 Luglio 2017
L’app companion della Nintendo Switch sta per arrivare
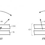
Brevetti
6 Luglio 2017
HomePod, un brevetto ne svela nuovi dettagli
Scelti dalla redazione
Prodotti per l'estate
Kindle
Bilance smart
Ciabatte WiFi
Smartwatch
Videocamere di sorveglianza
Serrature smart
Spazzolini elettrici
Videocitofoni WiFi
Cavi iPhone
Sonoff
Powerbank
Cartucce per stampante
Pellicole iPhone
Robot pulizie
Supporti auto per cellulare
Gimbal per iPhone
Aspirapolvere per auto
Microfoni per iPhone
Capsule Caffè
Applicazioni App Store
6 Luglio 2017
Il gioco “Sorcery!” per la prima volta gratis su App Store!
News
6 Luglio 2017
iPhone 6 (con Secure Enclave) sbloccato dalla Cellebrite?
News
6 Luglio 2017
L’app companion della Nintendo Switch sta per arrivare
Brevetti
6 Luglio 2017
HomePod, un brevetto ne svela nuovi dettagli
News
6 Luglio 2017
Apple regala il gioco Ridge Racer Slipstream
News
6 Luglio 2017
Apple produrrà tre iPhone con schermo OLED nel 2018 – Rumor
About
Chi siamo
Pubblicità
Privacy / Cookie Policy
Dark mode