Applicazioni Cydia 22 Agosto 2012 tsProtector PFB, un tweak che vi avvisa quando le applicazioni tentano di accedere ai file di sistema – Cydia
Applicazioni Cydia 22 Agosto 2012 Con “Turn to silence” basta girare l’iPhone per zittirne la suoneria – Cydia
Brevetti 22 Agosto 2012 Apple registra un brevetto riguardo un sistema in grado di assorbire gli urti subiti dal display dell’iPhone
Applicazioni Cydia 22 Agosto 2012 QuickBrightness, cambia rapidamente la luminosità tramite un nuovo pop-up – Cydia
Applicazioni Cydia 21 Agosto 2012 IconToggles, un tweak che aggiunge delle utili scorciatoie di sistema alla Home dell’iPhone – Cydia
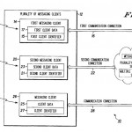
Brevetti 21 Agosto 2012 Apple ottiene i brevetti di un sistema di comunicazione inter-mesh per veicoli ed un sistema di gioco interattivo per iPhone
Recensioni 21 Agosto 2012 iPhoneItalia Quick Review: Chi ha rubato la luna, Diabetes+ e Tavola Periodica per iOS
Applicazioni Cydia 21 Agosto 2012 La schermata di blocco si personalizza anche senza respring grazie a LockScreenCustomizer – Cydia
News 21 Agosto 2012 Il CEO di Yahoo Marissa Mayer, ex vice-presidente di Google, vuole che tutti i suoi dipendenti utilizzino un iPhone?
Applicazioni Cydia 21 Agosto 2012 Vibrate Things, l’iPhone vibra automaticamente quando si verificano determinate azioni – Cydia
News 21 Agosto 2012 Come disabilitare l’apertura automatica di iPhoto quando colleghiamo l’iPhone al Mac – Noob’s Corner
Applicazioni Cydia 21 Agosto 2012 SpringMusic, un semplice tweak per dei controlli musicali leggermente diversi – Cydia
News 21 Agosto 2012 “Sky Go è ingannevole”: Adiconsum chiede l’intervento dell’Antitrust per il blocco dei dispositivi jailbroken e rooted
Applicazioni App Store 21 Agosto 2012 Maxthon Web Browser: una nuova alternativa a Safari Mobile disponibile su iPhone
News 21 Agosto 2012 iPhoneItalia App of the Week: l’applicazione della settimana selezionata dal nostro staff è “GrilloParlante”
Applicazioni App Store 21 Agosto 2012 Maxthon Web Browser: una nuova alternativa a Safari Mobile disponibile su iPhone
News 21 Agosto 2012 iPhoneItalia App of the Week: l’applicazione della settimana selezionata dal nostro staff è “GrilloParlante”
Brevetti 21 Agosto 2012 Riconosciuti ad Apple dei brevetti relativi al podcasting e ad alcuni design degli iPod