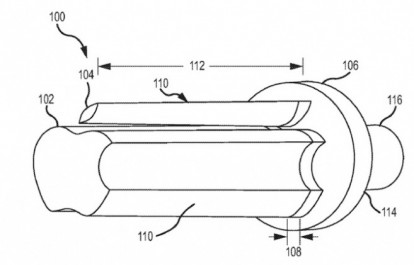
Apple ha pubblicato oggi un brevetto di uno strumento molto curioso, che secondo gli esperti è già in uso da tempo nelle fabbriche che producono prodotti Apple.

Si tratta di uno strumento utile per intagliare il logo della mela nei prodotti Apple, sfruttando la pressione esercitata dalla base. Il brevetto è firmato dal solo Kevin M. Kenney di Apple.
Prodotti consigliati
−4%
1.339,00
1.279,00 €
−21%
729,00
579,00 €