Apple Watch in futuro potrebbe sfruttare i suoi sensori per eseguire l’autenticazione biometrica attraverso le vene dell’utente. Lo descrive un nuovo brevetto Apple.

Le future versioni di Apple Watch potrebbero autenticare l’utente tramite la scansione di elementi posti sotto la pelle? Si tratterebbe di una modalità di autenticazione biometrica che potrebbe eliminare la necessità di inserire un codice di sicurezza per sbloccare lo smartwatch una volta indossato.
Apple Watch è l’unico dispositivo mobile prodotto da Apple che non offre sicurezza biometrica e che richiede un codice PIN per essere sbloccato. Il PIN, come ben sappiamo, deve essere inserito per la prima volta ogni volta che indossiamo lo smartwatch in quando il device si blocca quando non è a contatto con la pelle.
Nonostante il PIN riesca ad offrire un buon livello di sicurezza, sicuramente in molte circostanze risulta più macchinoso da inserire rispetto all’autenticazione biometrica. Inoltre, se l’utente riutilizza lo stesso PIN usato su altri dispositivi, il rischio che qualcuno ne venga a conoscenza è più elevato (basta osservare l’utente mentre sblocca qualche dispositivo e memorizzare il codice).
In un nuovo brevetto di Apple si parla di un dispositivo elettronico indossabile dotato di un sistema per la bioautenticazione.
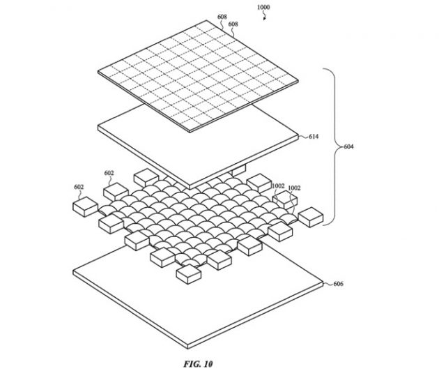
Apple quindi descrive l’uso di una serie di sensori sul retro di Apple Watch, capace di analizzare e scansionare la pelle dell’utente per acquisire dati sufficienti per autenticarlo. Si potrebbe quindi dire che l’Apple Watch potrebbe essere in grado, in futuro, di rilevare i pattern di vene e arterie, la struttura del tessuto connettivo, la pigmentazione della pelle e generare modelli unici capaci di identificare univocamente l’utente.

Le immagini scansionate verrebbero confrontate con versioni acquisite in precedenza e confermate dall’utente. Se dovesse esserci una valida somiglianza tra i due gruppi di immagini, il sistema confermerebbe l’autenticazione, altrimenti lo rifiuterebbe.
Chiaramente non sappiamo se mai questo brevetto diventerà realtà ma la potenziale applicazione di queste tecnologie risulta molto interessante. Che sia questo il futuro metodo di autenticazione per Apple Watch al posto del Face ID, presente invece su iPhone e iPad? Vi aggiorneremo non appena ne sapremo di più a riguardo.