Apple pensa di realizzare un device simile ai Galaxy di Samsung in versione EDGE? Stando a quanto espresso da un brevetto che parla di display curvi interattivi, sembrerebbe di si.
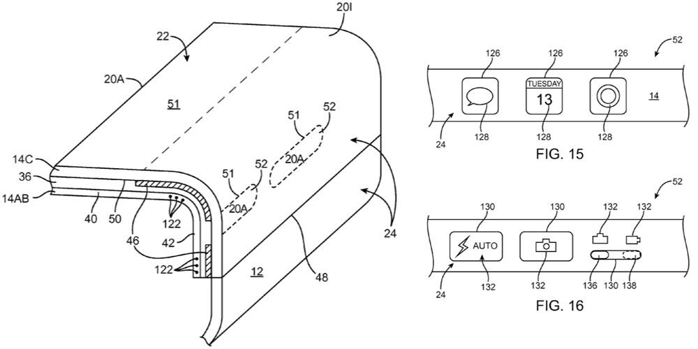
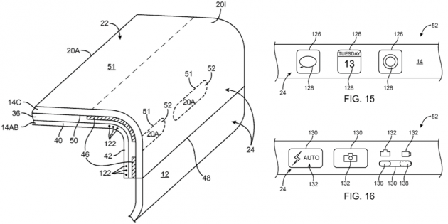
Il brevetto parla di un display curvo che permetterebbe l’interazione dell’utente con pulsanti particolari, funzioni realizzate ad-hoc e visualizzazione di informazioni utili. Insomma, un display dal bordo interattivo capace di fornire diverse funzionalità agli utenti.
Specifichiamo che il brevetto di Apple risale al 2014.
Fonte: 9to5Mac
Prodotti consigliati
Samsung Galaxy S26 Smartphone AI, 512GB, 3 anni di Garanzia, Processore Avanzato, Assistente Foto...
Offerta:
1.229,00 €
Offerta:
1.699,00 €
