iPad
Mac
Video
iPhone
iPhone Air
iPhone 17
iPhone 17 Pro
iPhone 16e
iPhone 16
iPhone 16 Pro
iPhone 15
iPhone Ricondizionati
Migliori cover
Cuffie e Auricolari
AirTag
iOS 18
iOS 17
iOS 16
iPad
iPad Air
iPad 11
iPad Mini
iPad Pro
iPadOS 18
iPadOS 17
Apple Pencil
Mac
MacBook Air
MacBook Pro
iMac
Mac mini
Mac Studio
Mac Pro
macOS Sequoia
macOS Sonoma
Studio Display
Pro Display XDR
AirPods
AirPods
AirPods Pro
AirPods Max
Watch
Apple Watch Ultra 3
Apple Watch Series 11
Apple Watch SE 3
Apple Watch Series 10
Apple Watch Series 9
Migliori cinturini
watchOS 11
watchOS 10
Smart Home
Apple TV 4K
tvOS 18
HomePod
HomePod mini
Accessori Smart Home
Forum
Tech
Offerte
Home
/
apple
apple
News, articoli e approfondimenti nell'archivio: apple
20 Gennaio 2015
Edward Snowden: “Apple e lo spyware segreto, ecco perchè non uso l’iPhone”
20 Gennaio 2015
Opzione “Moviola” su iPhone 5c? – iPhoneItalia Q&A #416
20 Gennaio 2015
#WallpaperOfTheWeek (67): scarica GRATIS due nuovi sfondi per il tuo iPhone!
20 Gennaio 2015
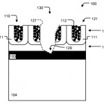
Apple brevetta l’iPhone che si controlla con gli occhi
20 Gennaio 2015
Trapelano sul web nuove immagini dell’app Google Calendar per iPhone
20 Gennaio 2015
Apple pubblica un nuovo video dedicato al prossimo Apple Store cinese
20 Gennaio 2015
Apple ricorda agli sviluppatori le nuove regole vigenti dal primo febbraio
19 Gennaio 2015
GUIDA: come eseguire il Jailbreak di iOS 8.1.2 su iPhone con PP – MAC
19 Gennaio 2015
Apple rilascia una nuova immagine che mostra l’avanzamento dell’Apple Campus 2
19 Gennaio 2015
Apple celebra il Martin Luther King Day
«
1.138
1.139
1.140
1.141
1.142
»
About
Chi siamo
Pubblicità
Privacy / Cookie Policy
Dark mode