Apple ha brevettato delle particolari batterie flessibili che potrebbero essere utilizzate in futuro su un iPhone con display pieghevole.

Nel brevetto, Apple elenca una serie di soluzioni per rendere le batterie abbastanza flessibili da poter essere utilizzate con display pieghevoli su iPhone o iPad, ma anche per risparmiare spazio all’interno di dispositivi classici come gli attuali iPhone.
Il problema più evidente per un telefono o un tablet pieghevole è lo schermo. Sappiamo già che Apple ha brevettato diverse soluzioni per display con cerniere, ma l’esperienza non positiva di altri produttori come Samsung ha fatto capire che occorre sviluppare ulteriori tecnologie per garantire funzionalità e affidabilità.
“Le batterie occupano spesso una notevole quantità di spazio in un dispositivo elettronico portatile“, spiega Apple nel brevetto. “Dato che i dispositivi sono diventati sempre più affamati di energia, è necessario dedicare una maggiore quantità di spazio per ospitare le batterie“. E ancora, “Oltre a occupare spazio, le batterie sono spesso anche piuttosto rigide, rendendo troppo complesso il loro posizionamento in porzioni di un dispositivo progettato per ripiegarsi“.

Le diverse proposte di Apple sono incentrate sul lavorare con entrambe le celle della batteria e i vari connettori, separando le celle flessibili della batteria in alcune sezioni della stessa.
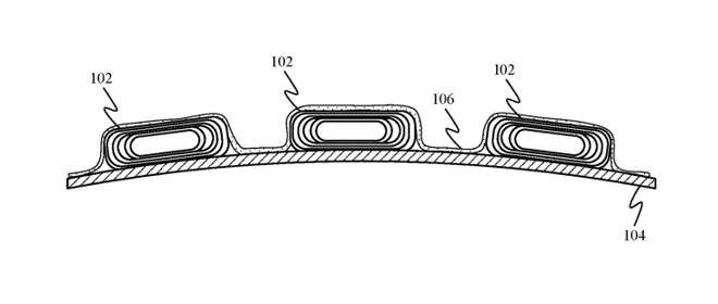
Ad esempio, le celle flessibili della batteria possono essere arrotolate in cilindri e quindi distribuite su un substrato flessibile. A seconda dell’intervallo tra i cilindri e il loro diametro, la batteria può essere flessa di almeno un asse.
Gran parte del brevetto descrive i diversi metodi per montare o impilare le celle della batteria, e per alleviare le sollecitazioni che questa soluzione provocherebbe sul materiale della batteria.
Nello specifico, questo brevetto riguarda il “funzionamento di una batteria flessibile integrata in display flessibile“.
La]batteria flessibile può essere distribuita lungo tutti e quattro i lati di un display flessibile. Ad esempio, la BMU dell’unità di gestione della batteria e la scheda logica principale potrebbero entrambe essere impacchettate all’interno di un alloggiamento pensato per ritrarsi con un meccanismo di retrazione che provoca l’avvolgimento di un display flessibile attorno a un elemento cilindrico.
Con questo brevetto, Apple conferma il forte interesse verso soluzioni di smartphone e tablet flessibili. Questo non significa che a breve uscirà un qualche iPhone di questo tipo, ma di sicuro l’idea c’è…
Brevetti