E’ da poco comparso in rete un nuovo e misterioso brevetto della casa di Cupertino legato ad una nuova tipologia di schermi multitouch.

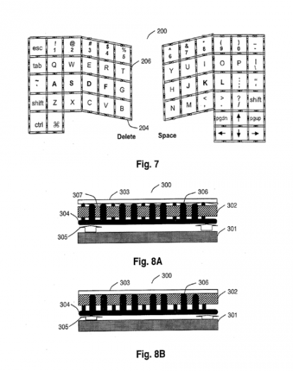
Stando a quanto riportato da AppleInsider sembrerebbe che il nuovo brevetto sia in qualche modo legato all’ormai mistico iTablet che potrebbe così includere uno schermo multitouch con feedback tattile.

Sembrerebbe così che i futuri possessori di un iTablet avranno a disposizione una tastiera su schermo che reagirà in maniera del tutto simile ad una fisica: come già avviene nel BlackBerry Storm, sentiremo la tastiera “flettersi” sotto le nostre dita quando premeremo un tasto; questo al fine di garantire una digitazione ottimale e funzionale anche sul nuovo dispositivo.

Ricordiamo che si tratta solo di una voce di corridoio e pertanto vi invitiamo a prendere la notizia con le adeguate cautele.
Fonte: AppleInsider Via: EsferaiPhone